포항시, 청소차량 적재함 안전차단막(아이디어 기술) 특허 등록
포항시에서는 청소차량 적재함에 안전차단막을 설치하는 아이디어 기술을 특허 등록했다.
황재임 기자 / gbn.tv@hanmail.net 입력 : 2012년 11월 26일
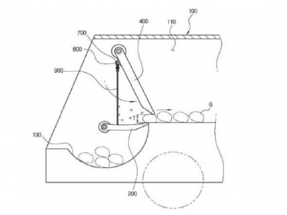
이번에 특허 등록된 기술은 5톤 압착용 청소차량(25대)에 생활쓰레기 투입 시 적재함 회전판 및 밀판 작동으로 인해 튕겨 나오는 협잡물(병류, 플라스틱류, 오물 등)로부터 환경미화원들의 안전사고(좌안 외상출혈, 안구 망막 손상, 열상, 타박상 등)가 빈번하게 발생되는데 착안됐다.
포항시에서 자체 개발한 아이디어 기술은 5톤 압착용 청소차량 적재함 투입구 밀판에 고무판을 UCP베어링 및 강관으로 고정하는 기술을 적용해 자체기술로 제작, 설치함으로써 쓰레기(협잡물)가 튕겨져 나오는 것을 막는 것이다.
|  | | | ⓒ GBN 경북방송 | | 이 아이디어 신기술로 작년 3월 28일 특허청에 특허출원 신청해 지난 20일 특허등록(출원번호 10-2011-0027318) 하게 됐다.
이번 특허는 환경미화원으로 근무하는 흥해읍 장진업 씨의 아이디어와 실무에 적용해 특허청과 협의해 추진해온 담당공무원 청소과 권태중 씨의 노력으로 탄생된 것으로 향후 환경미화원의 안전사고를 획기적으로 줄일 수 있는 계기를 마련한 것으로 평가받고 있다.
이 기술은 타 지자체 및 청소차량 제조사에 홍보해 사용함으로써 향후 안전사고 예방 및 포항시 세수증대에도 기여할 것으로 전망된다.
한일도 포항시 청소과장은“담당직원의 노력으로 탄생된 이번 특허기술로 포항시 청소행정을 한 단계 더 발전시킬 수 있는 계기가 됐다”며 “앞으로도 시민의 편의 증진을 위해 청소행정 발전에 더욱 노력하겠다”고 밝혔다.
|  | | | ⓒ GBN 경북방송 | | |
황재임 기자 / gbn.tv@hanmail.net  입력 : 2012년 11월 26일
- Copyrights ⓒGBN 경북방송. 무단 전재 및 재배포 금지 -
|
|
포토뉴스
청명하던 하늘 먹구름 몰려와 빗줄기 우두둑우두둑..
|
극장 문이 열리자 사람들이 쏟아져나오고 피부에서 붉은빛이 번져
..
|
현관문을 열고 들어선다 텅 빈 복도에서 잠시 마음을 내려놓는다 방으로 ..
|
최동호 교수의 정조대왕 시 읽기
정조는 1752년 임신년에 출생하여 영조 35년 1759년 기묘년 2월..
|